【e测试干货】【独家】深度解析DSC(差示扫描量热分析法)
2021-02-20 17:04:21 17 5171
精彩导读
量热分析测量试样时,由于试样的吸热或者放热,促使温度改变,因此进行试样量热的定量测量是困难的。要获得较准确的热效应,可采用差示扫描量热法(DSC)。差示扫描量热法是在程序控制温度下,测量输入到试样和参比物的功率差与温度之间关系的一种技术。主要特点是使用的温度范围比较宽(-175℃~725℃)、分辨能力高和灵敏度高。在上述温度范围内,除了不能测量腐蚀性材料之外,DSC不仅可涵盖差热分析的一般功能,而且还可定量地测定各种热力学参数(如热焓、熵和比热容等),所以在材料应用科学和理论研究中获得广泛应用。
根据所用测量方法的不同,可分为功率补偿型DSC和热流型DSC。
差式扫描量热分析法原理
DSC的试样和参比物分别各有独立的加热元件和测温元件,并由两个系统进行监控。其中一个用于控制升温速率,另一个用于补偿试样和惰性参比物之间的温差。见下图1。

图1 DSC加热元件示意图
试样在加热过程中由于热效应与参比物之间出现温差△T时,通过差热放大电路和差动热量补偿放大器,使流入补偿电热丝的电流发生变化。试样在热反应时发生的热量变化,由于及时输入电功率而得到补偿,所以实际记录的是试样和参比物下面两点热补偿的热功率之差随时间t的变化,即dH/dt-t关系。如果升温速率恒定,记录的也就是热功率之差随温度T的变化dH/dt-T关系,如下图2。

图2 DSC曲线
峰向上表示吸热,峰向下表示放热。峰面积S正比于热焓的变化:△Hm=KS,式中K为与温度无关的仪器常数。如果事先用已知相变热的试样标定仪器常数,再根据待测样品的峰面积,就可以得到△H的绝对值。而仪器常数的标定,常利用测定锡、铅、铟等纯金属的熔化来测定。
影响差式扫描量热曲线分析的因素
※ 试样用量和粒度
试样用量大,易使相邻两峰重叠,降低了分辨力。一般尽可能减少用量,最多大至毫克。样品的颗粒度在0.147~0.074mm(100~200目)左右,颗粒小可以改善导热条件,但太细可能会破坏样品的结晶度。对易分解产生气体的样品,颗粒应大一些。参比物的颗粒、装填情况及紧密程度应与试样一致,以减少基线的漂移。
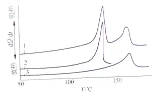
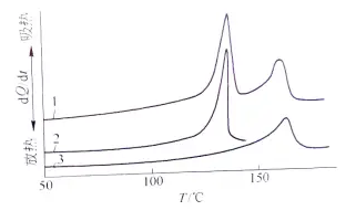
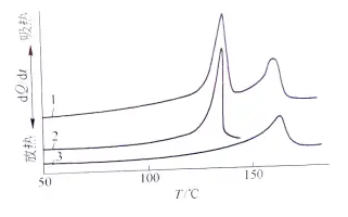
下图3所示,样品量小有利于气体产物扩散,相邻峰(平台)分离能力增强,DSC峰形也较小。样品量大能增大DSC检测信号,峰形加宽,峰值温度向高温漂移,峰分离能力下降,气体产物扩散亦稍差。

图3 样品颗粒度与升温速度对DSC曲线的影响
※ 升温速率
升温速率不仅影响峰温的位置,而且影响峰面积的大小,一般来说,较快的升温速率使峰面积变大,峰变尖锐。但是快的升温速率使试样分解偏离平衡条件的程度也大,因而易使基线漂移。更主要的可能导致相邻两个峰重叠,分辨力下降。较慢的升温速率,基线漂移小,使体系接近平衡条件,得到宽而浅的峰,也能使相邻两峰更好地分离,因而分辨力高。但测定时间长,需要仪器的灵敏度高。一般情况下选择9~12℃/min为宜。
快速升温使DSC峰形变大;特征温度向高温漂移;相邻峰或失重台阶的分离能力下降。慢速升温有利于相邻峰或相邻失重平台的分离:DSC峰形较小。
差式扫描量热法的应用
※ 焓变的测定
若已测定K,按测定K时相同的实验条件测定试样DSC曲线上的峰面积,从而求△Hm。
※ 结晶度的测定
百分结晶度成为高聚物的特征参数之一,由于结晶度与熔融热焓值成正比,因此可利用DSC测定高聚物的百分结晶度,先根据高聚物的DSC熔融峰面积计算熔融热焓△Hf,再按“结晶度(%)=△Hf/△Hf**100%”求出百分结晶度。(其中△Hf*为100%结晶度的熔融热焓,它的测定是用一组已知结晶度的样品作出结晶度△Hf图,然后外推求出100%结晶度△Hf*。)
※ 混合物和共聚物的成分检测
脆性的聚丙烯往往与聚乙烯共混或共聚增加它的柔性,因为在聚丙烯和聚乙烯共混物中各组分的混合比例可分别根据它们的熔融峰面积计算。

图4 聚丙烯、聚乙烯及其共混物的DSC图
1- 共混物;2-聚乙烯;3-聚丙烯
※ 玻璃化转变温度Tg的测定
在无定形聚合物由玻璃态转变为高弹态的过程中伴随着热容变化,在DSC曲线上体现为基线高度的变化(曲线的拐点)。由此进行分析,即可得到材料的玻璃化转变温度。
1.取基线及曲线弯曲部的外延线的交点(下图5-a)
2.取曲线的拐点(下图5-b)

图5 从DSC曲线中测定Tg的两种方法
差式扫描量热法的优势
差示扫描量热分析法可以直接测量热量,且由于试样的热量变化随时可得到补偿,试样与参比物的温度始终相等,避免了参比物与试样之间的热传递,故仪器的反应灵敏,分辨率高,重现性好。
DSC的峰的位置、形状和峰的数目与物质的性质有关,故可以定性地用来鉴定物质。为了提高灵敏度,DSC所用样品容器与电热丝紧密接触。但由于制造技术上的问题,目前DSC仪测定温度可达到750℃左右,温度再高,只能用DTA仪了。
热分析技术已广泛应用于石油产品、高聚物、配合物、液晶、生物体系、医药等有机和无机化合物,它们已成为研究有关问题的有力工具。
<锐思博创分析测试中心>测试项目
——差示扫描量热分析仪DSC
▼

推荐文章
-
2021-10-20 0 13274
-
2021-10-20 0 8665
-
2022-07-07 0 7765
-
2022-07-07 0 6755
-
2021-01-12 15 6679